金恪集团资金盘诈骗五百多亿,爆雷被抓三十多人,创始人潜逃海外...
大家好,我是雷米,一家三百多人技术开发公司的老板。
就在2024年的12月21日,就是前些天,上海市公安局浦东分局通报,金恪集团、艳阳度假等已被立案侦查,罪名是涉嫌非法集资。涉案金额可能高达五百多亿人民币。

据报道,这则案件涉及的金额超过了五百亿元,受害人可能几十万,且几乎都是老人。
金恪的集资模式,就是投资其理财产品,可以免费在度假村住、跟团游、兑换礼品等,并不新鲜,但对老人很有吸引力。
而这些老人被骗走的钱,可能是其一辈子的积蓄或全家的流动资金,可以说被坑惨了!
下面跟大家说一下这个金恪集团是如何诈骗五百亿,坑害几十万人的
一,金恪集团
金恪集团在2014年诞生之初,主打的就是民生需求产业。医疗、食物、住房、出行、养老、娱乐等等全方位都被包含。
在起步阶段,金恪并不出名,也没能重点发展哪个产业,但就这样发展了两年,金恪就合并了艳阳度假,成为了金恪集团。
合并
度假产业线一出,金恪就逐渐走向“正轨”,放眼全国市场,谁有闲又有钱?答案是,许多不算老的老人。
年轻人要工作,中年人要照顾家庭,而老人在退休之后有大把的空闲时光,还有积攒了半辈子的养老钱。
在度假的老人
近年来细分旅游市场的客户群体就知道,不管是节假日还是正常工作日期,老人旅游占据了相当一部分比例。
而如今养老也成为了大趋势,人口老龄化越来越严重,养老机构越来越多,那为什么不将旅游度假和养老结合起来呢?
金恪集团做的就是这个,他们聘请大量的业务员开拓全国市场,只要遇到了目标客户就极尽推销。
之所以能成功,也是因为金恪从表面上真的给足了“诚意”。
金恪艳阳
回过头看,金恪能骗这么多人,其实还是包装的太好了。
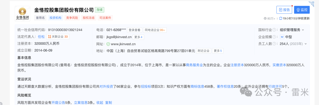
金恪集团成立于2014年,注册资本32亿,主要围绕“医、食、住、行、养、娱”民生需求布局产业。
仅仅两年后,金恪就合并了艳阳度假,这是一家专门致力于打造会员制休闲度假业务的公司,前身是新三板上市艳阳国旅。
合并后,金恪就打着养老、旅游业务的名义,在全国多地开发会员,而这些会员大多是高储蓄的老人。
金恪业务员的态度,可以说极尽殷勤,不仅自称“管家”,逢年过节还会送点小礼品,借机推荐投资产品,许诺的利息极高——
一年7%,最高时候甚至有25%。
这还不止,投资之后,可以去艳阳旗下的酒店、度假村免费住,还可以跟团游,用积分兑换很多礼品和权益等。
阿公阿婆们心动啊,更不要说,金恪看起来还蛮靠谱。
实控人王建峰,1971年生,浙江浦江人,毕业于浙江工业大学,后获澳大利亚卧龙岗大学会计硕士学位。曾先后就职于松下电器、瑞士兰吉尔等跨国公司,妥妥的高学历人才。他还多次被权威媒体报道,形象非常正面。
2018年,金恪在官微发文称,继上海、深圳总部发展之后,金恪集团进驻北京。“北京总部精确集团盛大启幕”。
大厦的图片,看起来十分豪华。
2023年,有媒体撰写文章《左手产业 右手营销——解码百亿企业金恪集团进化之路》,提到金恪资产超过300亿,年营收近200亿元,正在从上海走向全国。
今年9月27日,暴雷前夕,金恪还获得了国内权威信用评级机构——联合信用评级评审委员会评定的AAA信誉评级,并连续五年获得AA+主体信用评级。
而如今,有受害人的儿子称,老人们普遍投进去50万-500万元,有的甚至投了千万之多。
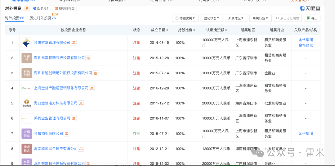
经过在天眼查查询,我发现金恪投资的大量企业都已经被注销了,证明已经提前做了准备了。
二,金恪集团的暴雷前夕
谁又能想到,光鲜亮丽的外表之下,包裹着的尽是黑暗。
金恪集团现有股东为深圳金言恪行控股有限公司和王建峰,持股比例分别是99%和1%。穿透来看,金恪集团实际控制人为王建峰。
王建峰,1971年4月出生于浙江浦江。毕业于浙江工业大学,后获澳大利亚University of Wollongong(卧龙岗大学)会计硕士学位。
曾先后就职于松下电器、瑞士梅特勒-托利多、瑞士兰吉尔等跨国公司。2016年起,王建峰担任金恪投资控股股份有限公司任董事、总经理,后担任金恪投资集团董事长,法人代表。

曾被认为是“精英人才”的金恪集团CEO王建峰,于2022年就逐渐淡出了公司经营,几乎没有任何金恪的重要职务。
并且在卸任金恪集团重要职务之后,他和其他一些高层还出了境,现在来看,这种行为更像是携款潜逃。
金恪集团,其实内部早已千疮百孔,但直到10月21日,金恪才将自己不堪的一面展露。
那一天,金恪子公司艳阳国旅发布公告称,公司经营出现问题,暂停所有业务。
而在六天之后也就是27日凌晨,金恪官方发布公告,表示公司运营和财务等情况正在梳理,兑付方案尚无法确定。
至此,投资人彻底慌了,那些钱是很多人一辈子攒下来的本钱,不能就这么没了。
愤怒和恐慌之下,许多投资人来金恪总部要说法,发现这里早已经关门,哪还有人。
不甘心的投资人报了警,11月下旬,警方对金恪涉嫌非法吸收公众存款进行立案侦查。这一倒,更多的不对劲细节被披露。
公司人去楼空
他们在北京总部那霸气的大厦照片,实际是表面功夫。金恪告诉房地产公司自己要买,但在买之前要租一段进行考察。
就是这个楼
但在挂了自己招牌之后金恪又说不买了,后期还开始拖欠租金。
12月份,联合信用评价公司终止了金恪集团的信誉等级,投资者的天彻底塌了。
事发之后,投资人要追讨钱财,要向相关部门递交资料,放眼望去,几乎全是白发苍苍的老人在填写信息表。
更痛心的是,因为受不了金恪的打击,还有一些老人身体出现了问题,引起了多项并发症。
网友吐槽
他们的全部积蓄被骗,因为没钱,生病了也不愿意去医院,在一个多月的时间有近十人离世。
有金恪前员工透露说,金恪艳阳平台涉及的客户受害人至少过万,大多都是越买越多,就连员工也深信不疑,为了冲指标贷款投资,现在都血本无归。
根据初步统计,除受害者人数过万之外,涉案金额应该超过了五百亿。
三,总结
1,金恪集团现状
资产冻结与清算
金恪集团的资产已经被冻结,并正处于清算阶段。这一措施可能是为了保障投资者的利益,防止资产进一步流失。
警方介入调查
:上海公安局已经于2024年11月19日正式立案调查金恪集团涉嫌非法吸收公众存款案。警方已经介入调查,并正在控制、收集和整理相关证据。
拘留人员
有消息称,公安部门已拘留了金恪艳阳30多个人,且这些人似乎不能取保候审。这显示了警方对此案的高度重视和严厉打击的态度。
2、金恪集团问题根源
非法集资
金恪集团及其旗下品牌艳阳度假的会员投资出现了问题,众多投资者,尤其是老年人,遭受了重大损失。这些投资者原本被金恪集团的高收益承诺所吸引,但如今却面临本金无法收回的困境。
项目逾期
金恪集团度假项目的逾期也引发了广泛争议,进一步加剧了投资者的损失和不满。
3、后续展望
案件处理时间
警方调查一般需要一年时间,法院后续可能需要两年,因此整个案件处理过程可能需要三年左右。投资者需耐心等待,同时保持对案件进展的关注。
投资者权益
随着案件的深入调查,投资者的权益保护问题也将逐渐浮出水面。相关部门将努力追回非法集资款项,以保障投资者的合法权益。
以下内容为赞助商提供

网赚项目交流+骗局曝光群
扫码进群,获取今日项目最新消息
标签:





评论列表
金恪集团资金盘诈骗五百多亿,爆雷被抓三十多人,创始人潜逃海外...
大家好,我是雷米,一家三百多人技术开发公司的老板。 就在2024年的12月21日,就是前些天,上海市公安局浦东分局通报,金恪集团、艳阳度假等已被立案侦查,罪名是涉嫌非法集资。涉案金额可...
@佚名 金恪集团资金盘诈骗五百多亿,爆雷被抓三十多人,创始人潜逃海外
“兴华社”(盛世华彩)彩票带单跟单类资金盘,目前20多万会员,操盘手圈钱几十亿,部分团队已经撤离